Alle ansehen 
 
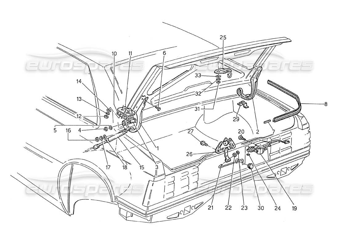
                               047 - Kofferraumdeckel: Scharniere zur Freigabe des Kofferraumdeckels
Maserati 2.24v Boot Lid: Hinges Boot Lid Release Teilediagramm
Sehen Sie sich die Explosionszeichnung der Teile an, um das gesuchte Teil zu finden
- Sie können das Diagramm durch Ziehen neu positionieren
- Sie können das Diagramm vergrößern und verkleinern, indem Sie scrollen, die Finger zusammenziehen oder verwendenUndTasten
- Sie können das Diagramm mit zurücksetzenTaste
Sehen Sie sich alle Teilepreis- und Verfügbarkeitsinformationen in der Teiletabelle an Nach rechtsunten
- Sie können auf einen Hotspot klicken  im Teilediagramm, um das Teil in der Tabelle zu finden 
- Sie können den Optionsfilter auf der Registerkarte „Filter“ verwenden, um Teile auszublenden, die für Ihre Suche nicht relevant sind
Wechseln Sie zwischen anderen Teildiagrammen mitUndKlicken Sie auf die Schaltflächen oder verwenden Sie die Diagrammbilder unten
Für ein optimales Erlebnis empfehlen wir die Anzeige dieser Seite im Querformat
Teilschlüssel
ST
Teil auf Lager
PS
Erhältlich im Teilesatz
SS
Teilersatz auf Lager
PS
Erhältlich im Teilesatz auf Bestellung (je nach Verfügbarkeit)
SO
Teil bestellbar (je nach Verfügbarkeit)
PK
Erhältlich im Teilesatz
# 001
MPN: 314722113
LINKES SCHARNIER
Ersetzung 
Ersetzung 
# 002
MPN: 314722114
RECHTES SCHARNIER
Ersetzung 
Ersetzung 
# 003
MPN: 314720328
STIFT FÜR GELENKSTIFT
aus  £4,20 
aus  £4,20 
# 004
MPN: 125100060
MUTTER FÜR GELENKSTIFT
# 005
MPN: 135300064
Scheibe für Gelenkbolzen
# 006
MPN: 314320345
SCHRAUBEN
aus  £47,02 
aus  £47,02 
# 007
MPN: 314520443
EINFÜGEN
aus  £1,69 
aus  £1,69 
# 008
MPN: 314720350
GEPÄCKHAUBENFORMTEIL
Ersetzung 
Ersetzung 
# 010
MPN: 314720327
SCHARNIERDICHTUNG
aus  £1,13 
aus  £1,13 
# 011
MPN: 314720325
LINKE SCHARNIERHALTERUNG
aus  £2,35 
aus  £2,35 
# 011
MPN: 314720326
RECHTE SCHARNIERUNTERSTÜTZUNG
aus  £2,35 
aus  £2,35 
# 012
MPN: 125100060
SCHARNIERMUTTER
# 013
MPN: 135300064
Scheibe
# 014
MPN: 136200064
Scheibe
# 015
MPN: 314720118
STAMMGASHEBER
aus  £52,88 
aus  £52,88 
# 016
MPN: 125100060
NUSS
# 017
MPN: 135300064
Scheibe
# 018
MPN: 135900064
Scheibe
aus  £0,47 
aus  £0,47 
# 019
MPN: 323320195
MOTORANTRIEB
aus  £19,96 
aus  £19,96 
 Dieses Teil ersetzt die Teilenummer 313320195 
# 020
MPN: 119148160
SCHRAUBEN
# 021
MPN: 324720337
SPURSTANGE
aus  £0,53 
aus  £0,53 
# 022
MPN: 30471338
Scheibe
aus  £1,18 
aus  £1,18 
# 023
MPN: 30451423
STEUERKABELFEDER
# 024
MPN: 53451389
Scheibe
aus  £1,18 
aus  £1,18 
# 025
MPN: 314720110
STÜRMER
aus  £13,29 
aus  £13,29 
# 026
MPN: 30471104
SCHLÜSSELSCHLOSS FÜR GEPÄCKHAUBE
aus  £16,32 
aus  £16,32 
# 027
MPN: 324520704
SCHLÜSSELSCHLOSSBOLZEN
aus  £1,18 
aus  £1,18 
 Dieses Teil ersetzt die Teilenummer 314320325 
# 029
MPN: 314720331
STOSSSTANGE
aus  £0,75 
aus  £0,75 
# 030
MPN: 165000160
Stecker
 Eurospares
 Eurospares 
  
  
  
  
  
  
  
  
  
  
  
  
  
  
  
  
  
  
  
  
  
  
  
  
  
  
  
  
  
  
  
  
  
  
  
  
  
  
  
  
  
  
  
  
  
  
  
  
  
  
  
  
  
  
  
  
  
  
  
  
  
  
  
  
  
  
  
  
  
  
 